Каталог

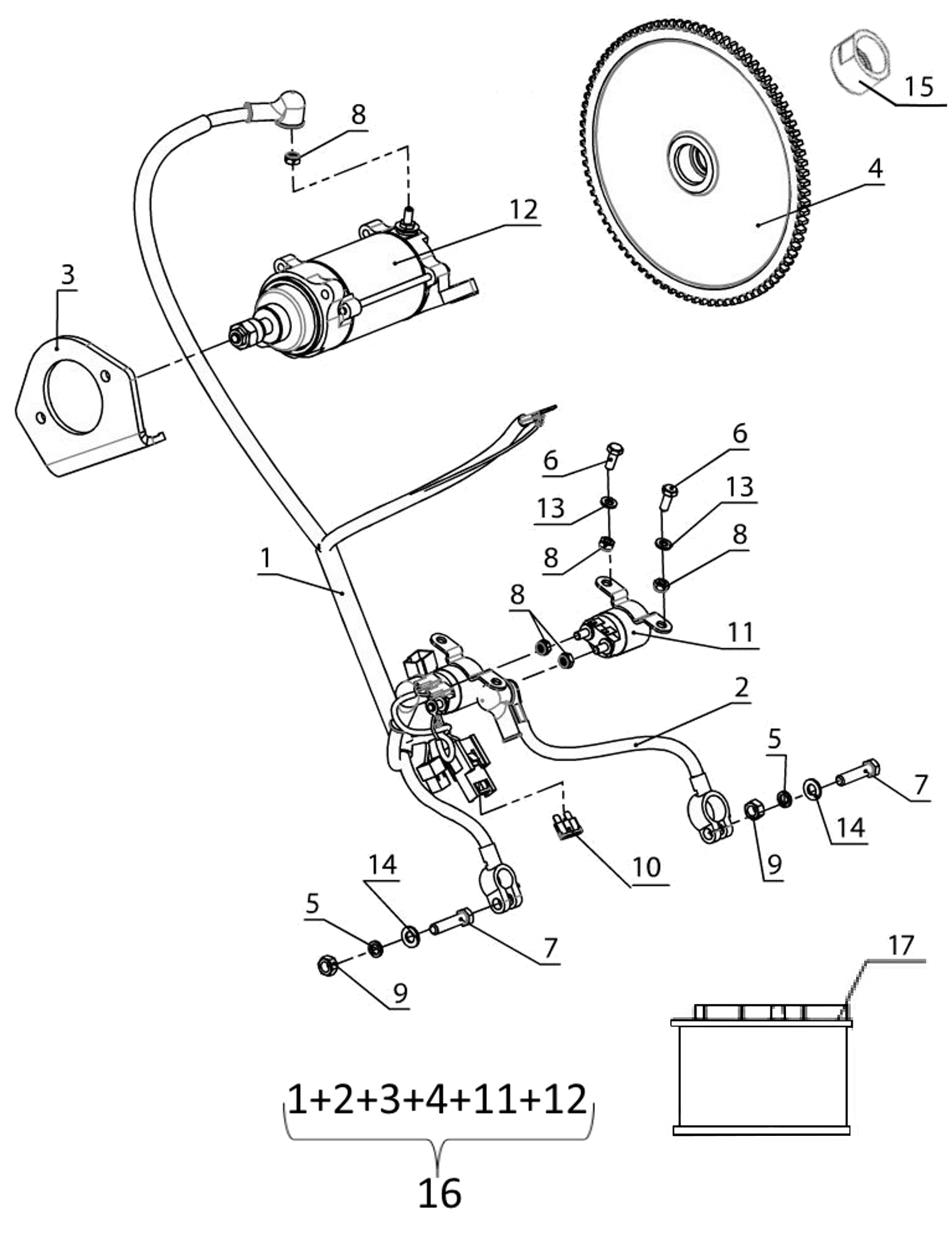
Система электрозапуска (Стартер 515176784) для снегохода Буран Лидер

Фото Наименование Артикул Примечание Цена, руб. Заказать
Жгут электрозапуска 111103580 0119219 1 651.1
Электропровод 111103590 0119298 713.9
Переходник 110500126-01 0119126 1 655.5
Шестерня 160500009-01 0119407 4 956.6
Втулка 160500011 0012840 866.8
Реле SMO1 0119516 639.1
Стартер электрический 515176784 0113725 15 705.8
Комплект для установки стартера Шихлин на двигатель РМЗ-640 111103700 0134681 27 650.7
Аккумулятор VARTA BLACK dynamic B20 545 413 040 0104693
Аккумулятор Energizer 45 Ач (545 413 040). 0105546
Батарея 6СТ-44А необслуживаемая ТУ 16-93 ИПHЮ 563412.020-08 ТУ 0016408
Шайба 8 DIN 127-PB 0065160
Шайба 8.65Г.016 ГОСТ 6402-70 (4 шт.) 0130041
Шайба 8.65Г.016 ГОСТ 6402-70 0009782
Гайка M6 DIN 985-8Р (4 шт.) 0128396
Гайка М6 DIN 985-8Р 0068940
Предохранитель FT 15A TESLA 0082211
Гайка M8 DIN 934-8P (7 шт.) 0128398 164
Гайка М8 DIN 6330-10Р 0053303
Гайка М8 DIN 934-8P 0065180

Почему выгодно купить у нас

Поставка c завода г. Рыбинск. Мы производители

Спец Тариф на доставку в ТК

Заводская гарантия 12 месяцев

Популярные статьи

Подборка из 5 снегоходов для рыбалки

Куда удобнее отправить?