Каталог

Лыжа с рессорой комбинированная для снегохода Буран Лидер

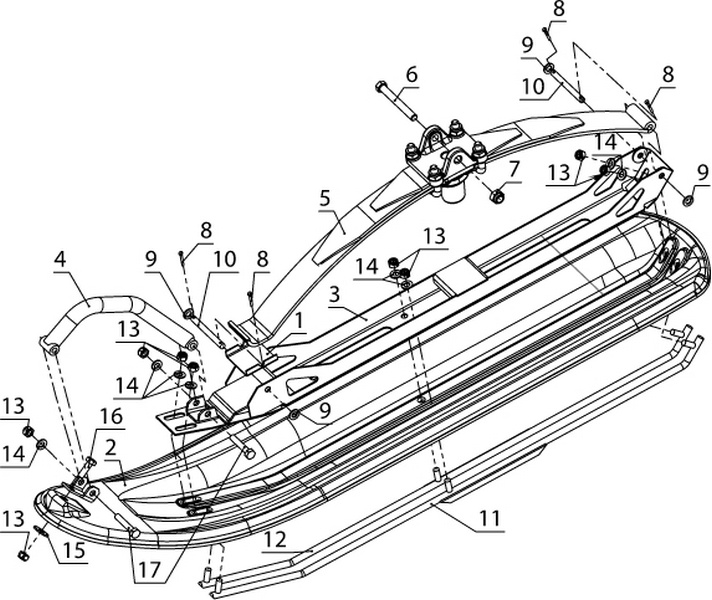
Фото Наименование Артикул Примечание Цена, руб. Заказать
Гайка М10 DIN 985-10Р 0053302 24.2
Лыжа 110301314 0104944
Шайба 8 DIN 9021-P 0066365 11
Шплинт 3,2x18 DIN 94-P (4 шт.) 0127037 69.3
Полоз 110301320 0108885
Вкладыш 110300007 0010270 332.2
Упор 110301340 0108491
Шайба 8 DIN 126-PC 0065469
Рессора 110300300-00СБD 0802358 5 028.1
Подрез 110301330 0108886
Подрез 110301330-01 0108926
Рессора 110300300-00СБ 0131004 6 615.4
Болт М8х45 DIN 931-88P 0074103 20.9
Ось подвески лыжи 110300137 0010330 242
Лыжа 110301350 0108887 17 440.5
Шплинт 3,2х18 DIN 94-P 0071471
Ось 110300136 0010329 170.5
Лист коренной 110300300-01 0131007 1 701.7
Болт М8х25 DIN 933-88P 0066216

Почему выгодно купить у нас

Поставка c завода г. Рыбинск. Мы производители

Спец Тариф на доставку в ТК

Заводская гарантия 12 месяцев

Популярные статьи

Подборка из 5 снегоходов для рыбалки

Куда удобнее отправить?