Каталог

Электрооборудование для снегохода Буран 4Т

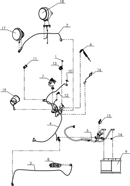
Фото Наименование Артикул Примечание Цена, руб. Заказать
Тумблер со жгутом C41100470 0069162 1 391.5
Жгут капота 111103210 0088763 815.1
Жгут фонаря заднего 111103310 0097160 269.5
Реле 3110.3747.000 3110.3747.000ТУ 0017780 873.4
Жгут фонаря заднего 111103450 0109798 584.1
Ручка 111100292 (5 шт.) 0128524 132
Жгут основной 111103520 0115203 5 362.5
Жгут основной 111103390 0103571 4 060.1
Жгут электрозапуска 111103400 0103599 4 215.2
Аккумулятор VARTA BLACK dynamic B20 545 413 040 0104693
Лампа контрольная 2202.3803-22АБ ТУ 37.003.1109-82 0090452
Тумблер ST-027RM-H 0088525
Выключатель 13.3720 ТУ37.003.987-80 0009688 405.9
Батарея 6СТ-44А необслуживаемая ТУ 16-93 ИПHЮ 563412.020-08 ТУ 0016408
Фара-прожектор 341300150 0012322 2 977.7
Выключатель аварийной сигнализации 249.3710-01 ТУ 37.461.022-97 (249.3710000-01ГЧ) 0016147 535.7
Выключатель экстренного останова со шнуром C40900050ЗЧ 0103373 1 593.9
Выключатель экстренного останова со шнуром C40900050 0015786
Замок зажигания со жгутом C41100580 0076533 1 987.7
Переключатель П 305 "О" КОД ОКП 45 7343 1338 ТУ 37.003.417-82 0074303

Почему выгодно купить у нас

Поставка c завода г. Рыбинск. Мы производители

Спец Тариф на доставку в ТК

Заводская гарантия 12 месяцев

Популярные статьи

Подборка из 5 снегоходов для рыбалки

Куда удобнее отправить?